This is used in industrial applications where the tension in wire rope needs to be carefully and continuously monitored and prevent overload.
The load cell is conveniently clamped-on to the rope in existing condition.
Designed to handle rope dia from 8mm to 80mm.
| Red | Excitation + |
| Black | Excitation - |
| Green | Signal + |
| Yellow | Signal - |
0.5 Tf to 7.5 Tf capacities load CZLs are offered for rope tension ranging from 1Tf to 50 Tf
Complete environmental protection IP-65 class.
Standard output 1.0mV/V available
can be provided to accommodate multiropeapplications - up to 4 ropes
Elevator load monitor.
Specially designed for protecting cranes and hoists from overload.
Tension measurement in stay ropes, suspension ropes and railway catenary ropes.
Vehicle pull test.
Ship Bollard pull test.
| PERFORMANCE SPECIFICATION | |
|---|---|
| Standard Capacities (Tf.) | 0.5,1,2,3,5,7.5 |
| Excitation Voltage | 10 VDC - Maximum 15 VDC |
| Nominal Output | 1 mV/V |
| Non - Linearity | < ± 5.0 % FSO for range upto 20% < ± 2.0 % FSO for range above 20% |
| Hysteresis | < ± 0.1 % FSO (Full Scale Output) |
| Non-Repeatability | < ± 0.1% FSO |
| Creep (30 minutes) | < ± 0.03 % FSO |
| Input Resistance | 390 Ohms |
| Output Resistance | 350 Ohms |
| Insulation Resistance (50V) | > 1000 Mega Ohms |
| Cable Length (4 core) | Upto 2T-5 M, Above 2T-10M |
| Safe Overload | 150 % of Rated Capacity |
| Ultimate Overload | 300 % of Rated Capacity |
| Temp. Compensated Range | 0-60 0C |
| Temp. Effect on Output | < 0.005 % FSO/ 0C |
| Temp. Effect on Zero | < 0.005 % FSO/ 0C |
| Deflection | < 0.5 mm at FSO |
| Material of Construction | Tool Steel |
| Environmental Protection Class | IP65 |
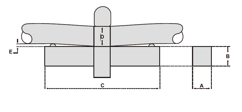
| Rope Tension (Tons) | Recommended Load CZL Capacity (Tons) | Rope dia - D | A | B | C | E |
|---|---|---|---|---|---|---|
| 1,2,5 | 0.5 | 8-16 | 32 | 32 | 172 | 7.5 |
| 5,10 | 1 | 24-36 | 32 | 32 | 172 | 7.5 |
| 15 | 2 | up to 40 | 32 | 32 | 172 | 172 |
| 25 | 3 | up to 60 | 38 | 38 | 228 | 7.5 |
| 40 | 5 | up to 72 | 38 | 38 | 228 | 7.5 |
| 50 | 7.5 | up to 80 | 50 | 50 | 300 | 7.5 |
All dimensions are in mm.